NBP-E 16

(The image may differ from original product.)

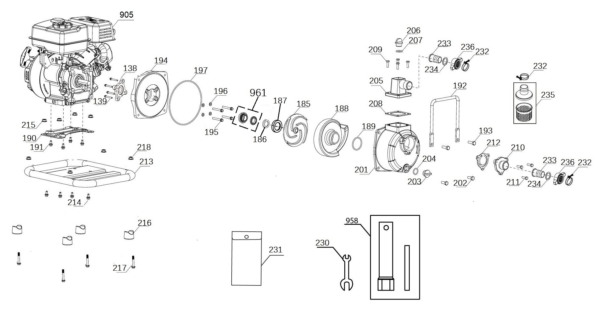
Petrol Water Pump

NBP-E 16

Articlenumber: 4190525
EAN - number: 4006825656367
Brand: Neptun
Identnumber
Please choose the identnumber of your product
Please note that you must first select your ID number above to see the list view and exploded drawing of your product. You can find your identification number on the nameplate next to the article number or in your operating instructions.

Specifications

Facts, figures and information for Petrol Water Pump NBP-E 16: here you will find detailed technical data, as well as specific information on dimensions, weight and packaging of this Einhell product.

Technical info
Engine four-stroke, air cooled
Engine displacement 80 cm³
Power 1.75 kW
Max. speed 3600 min^-1
Capacity of fuel tank 1.3 L
Max. delivery capacity 14000 L/h
Max. delivery height / - pressure 28 m / 2.8 bar
Max. suction height 7 m
Suction connection 47,8 mm (G 1 1/2" AG)
Pressure connection 47,8 mm (G 1 1/2" AG)

Images


 
 
 

Contact us

If you have any questions to our products or services of Einhell, just contact us - we will help you.

Call in to our Service Center in the United Kingdom or checkout our service contact in other countries.

 

Monday - Thursday from 08:45 am to 05:00 pm

Friday from 08:45 am to 03:15 pm

Phone: +44 2034991743

Alternatively you can reach us via our contact form or maybe you find the answer to your question in our FAQ section.

Go to cart

Item has been added to cart

Error

An Error occured