GC-DP 3730

(The image may differ from original product.)

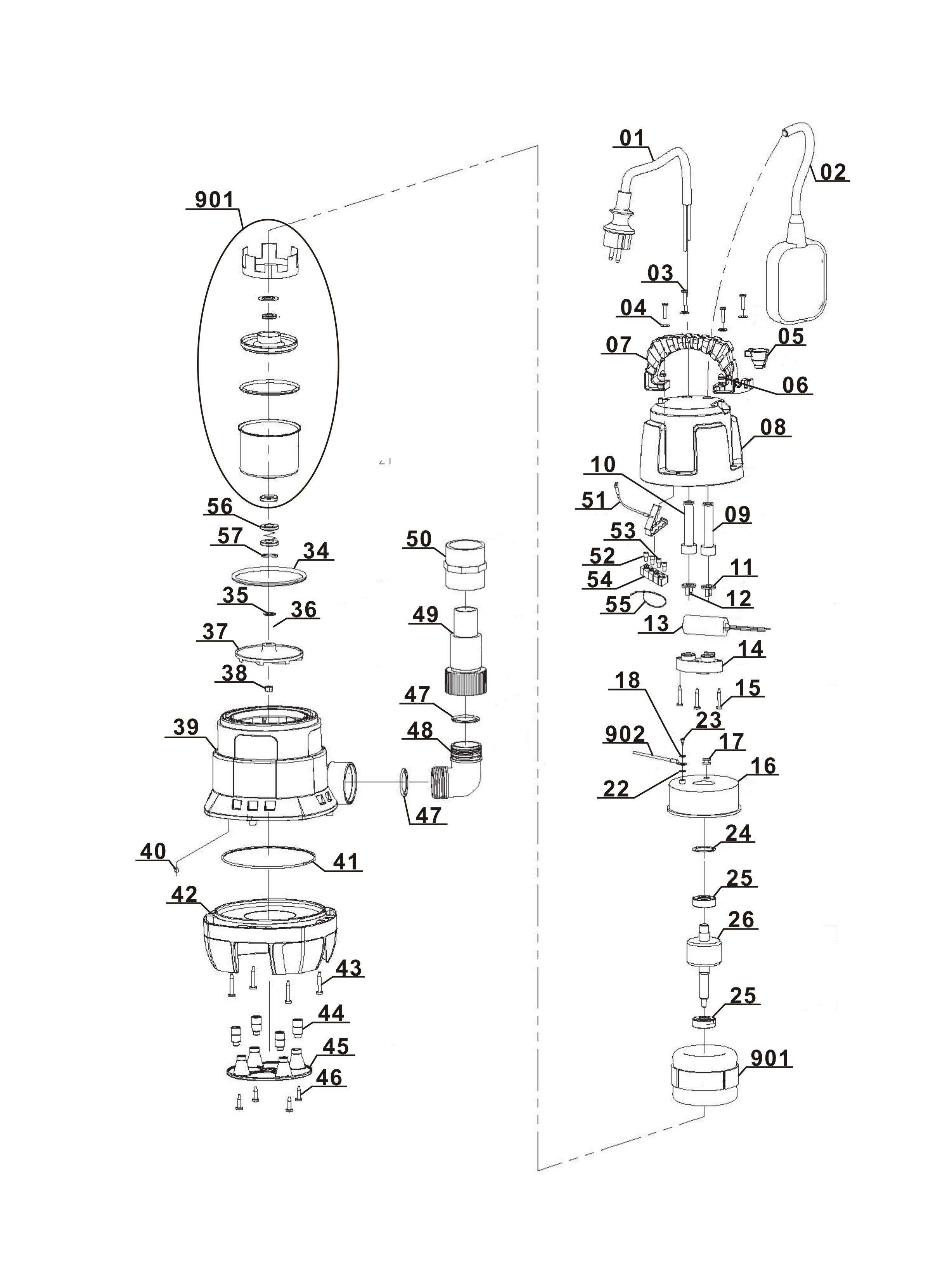
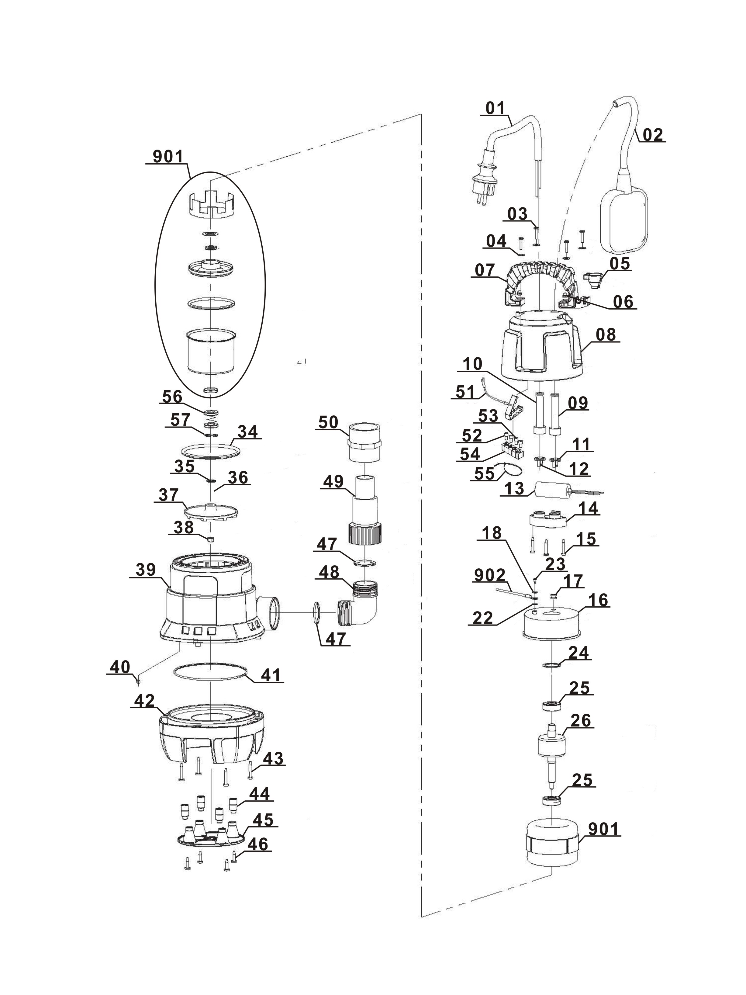
Dirt Water Pump

GC-DP 3730

Articlenumber: 4170471
EAN - number: 4006825587203
Brand: Einhell Classic
Identnumber
Please choose the identnumber of your product

Please note that you must first select your ID number above to see the list view and exploded drawing of your product. You can find your identification number on the nameplate next to the article number or in your operating instructions.
Instructions and data sheets for GC-DP 3730

Not able to find operating instructions for your Einhell tool? No worries: all our manuals and documents are also available online - it takes just a mouse click to download them.

Suitable accessories for GC-DP 3730

Specifications

Facts, figures and information for Dirt Water Pump GC-DP 3730: here you will find detailed technical data, as well as specific information on dimensions, weight and packaging of this Einhell product.

Technical info
Mains supply 230 V | 50 Hz
Power 370 W
Max. delivery capacity 9000 L/h
Max. delivery height 5 m
Max. immersion depth 5 m
Max. water temperature 35 °C
Max. size of foreign particles 30 mm
Hose connection 47,8 mm (G 1 1/2" IG)
Power cord 10 m | H05RN-F

Images


 
 
 

Contact us

If you have any questions to our products or services of Einhell, just contact us - we will help you.

Call in to our Service Center in the United Kingdom or checkout our service contact in other countries.

 

Monday - Thursday from 08:45 am to 05:00 pm

Friday from 08:45 am to 03:15 pm

Phone: +44 2034991743

Alternatively you can reach us via our contact form or maybe you find the answer to your question in our FAQ section.

Go to cart

Item has been added to cart

Error

An Error occured