CRMSS-1950; EX; AUS;

(Billedet kan afvige fra originalen)

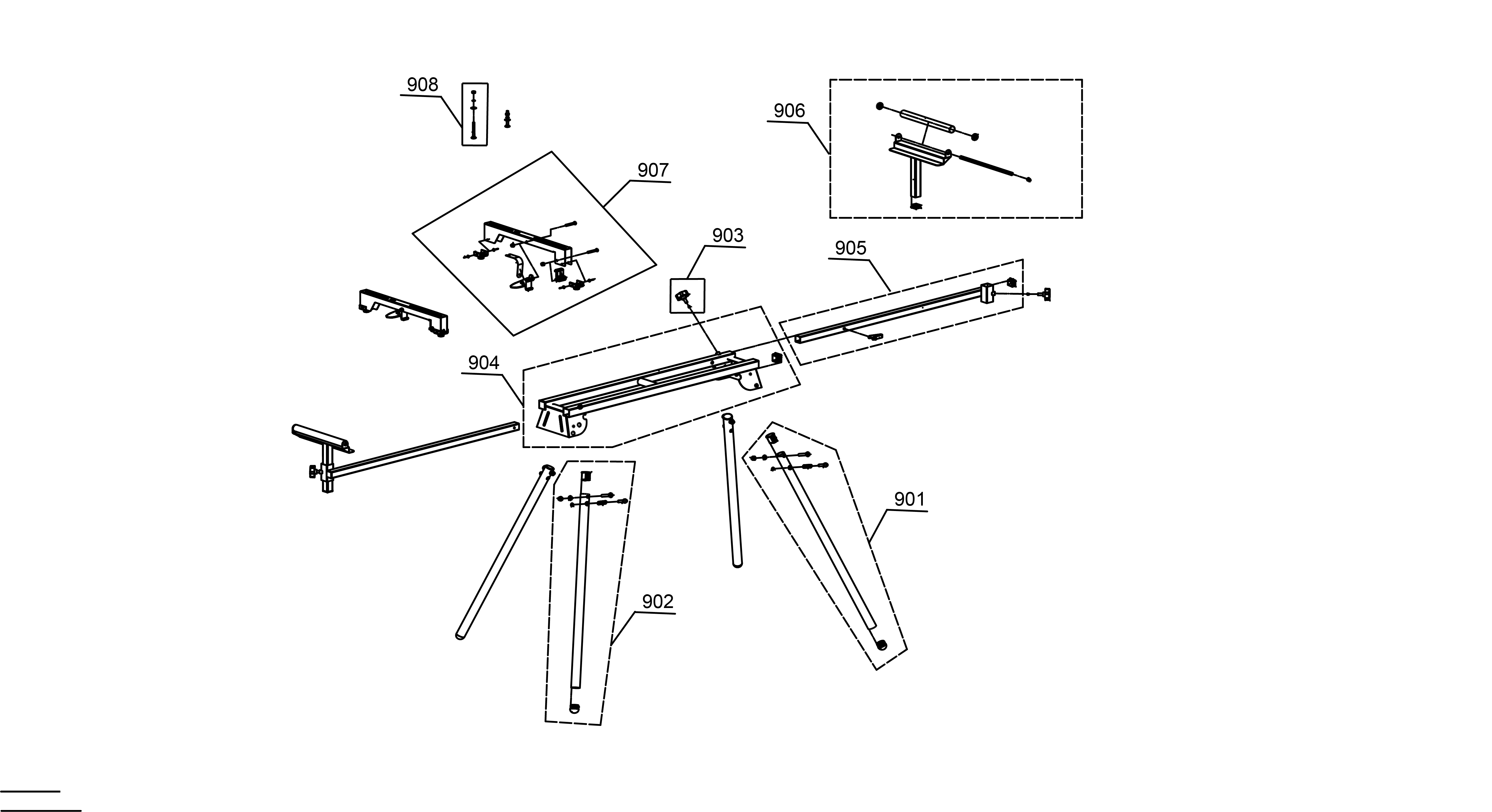
Tilbehør til stationær sav

CRMSS-1950; EX; AUS;

Varenummer: 3000415
EAN-nummer: 9319510023845
Mærke: Craftright
11018
Her finder du brugsanvisninger og datablade til CRMSS-1950; EX; AUS;

Kan du ikke finde brugsanvisningen til dit Einhell-produkt? Det er ikke noget problem: Alle brugsanvisninger og dokumenter er tilgængelige online.

Billeder

 
 
 

Kontakt os

Kontakt os, hvis du har spørgsmål til produkter eller tjenester fra Einhell – vi hjælper dig gerne videre.

 

Tel.: +45 (0) 78 737 856

Mandag til torsdag fra 09:00 - 15:30

Fredag fra 09:00 - 14:00

Alternativt kan du også kontakte os pr. e-mail eller via vores kontaktformular

Vis indkøbskurven
Udført Se indkøbskurv

Varen blev lagt i indkøbskurven

Fejl

Der er opstået en fejl