FBT-7000;Ex;Aus

(Imaginea poate fi diferita de produsul original.)

Accesorii electropalane

FBT-7000;Ex;Aus

Numar de articol: 2255394
Cod EAN: 9319510014614
Marca: FullBoar
11014
Instructiunile si fisele tehnice ale produselor pentru imprimare ca PDF: FBT-7000;Ex;Aus

Not able to find operating instructions for your Einhell tool? No worries: all our manuals and documents are also available online - it takes just a mouse click to download them.

Specificații

Numere, date și fapte pentru Accesorii electropalane FBT-7000;Ex;Aus: Aici găsești date tehnice detaliate, precum și date exacte privind dimensiunea, greutatea și ambalajul acestui produs Einhell.

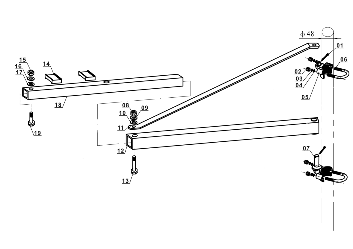
Informatii tehnice
Coloana mobila 110 cm
Grad de pivotare +/- 90°
Diametru guler teava 0.48 m

Imagini

 
 
 

Contacteaza-ne

Contacteaza-ne daca ai intrebari privind produsele sau serviciul de la Einhell – te vom ajuta cu placere.

 

Tel.: +40 21 318 55 44

De luni pana vineri ora 8:00-16:00


Alternativ, ne poti contacta pe e-mail sau prin formularul nostru de contact

Mergeti la cosul de cumparaturi

Produsul a fost adaugat in cos

Eroare

A aparut o eroare