(Imaginea poate fi diferita de produsul original.)
Accesorii electropalane
Numar de articol: 2255414
Cod EAN: 4006825579024
Marca: Parkside
Te rugăm să iei în calcul că trebuie inițial să selectezi numărul tău de identitate pentru a putea vedea lista și desenul cu desenul tehnic privind produsul tău. Numărul tău de identificare îl poți găsi pe plăcuța indicatoare lângă numărul articolului sau în instrucțiunile tale de operare.
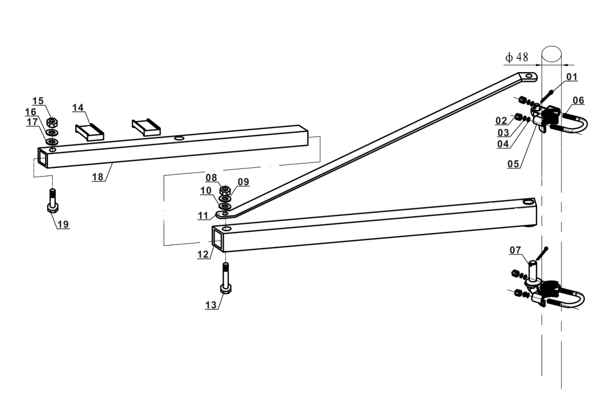
Piese de schimb pentru PSZ 250 A2 (LB6) afisat prin vizualizare lista sau prin Desen explodat
Privire de ansamblu asupra pieselor de schimb
Desen explodat
Instructiunile si fisele tehnice ale produselor pentru imprimare ca PDF: PSZ 250 A2 (LB6)
Not able to find operating instructions for your Einhell tool? No worries: all our manuals and documents are also available online - it takes just a mouse click to download them.
Instructiunile si fisele tehnice ale produselor pentru imprimare ca PDF: PSZ 250 A2 (LB6)
Not able to find operating instructions for your Einhell tool? No worries: all our manuals and documents are also available online - it takes just a mouse click to download them.
Instructiunile si fisele tehnice ale produselor pentru imprimare ca PDF: PSZ 250 A2 (LB6)
Not able to find operating instructions for your Einhell tool? No worries: all our manuals and documents are also available online - it takes just a mouse click to download them.