TP 1750 Niro

(Imaginea poate fi diferita de produsul original.)

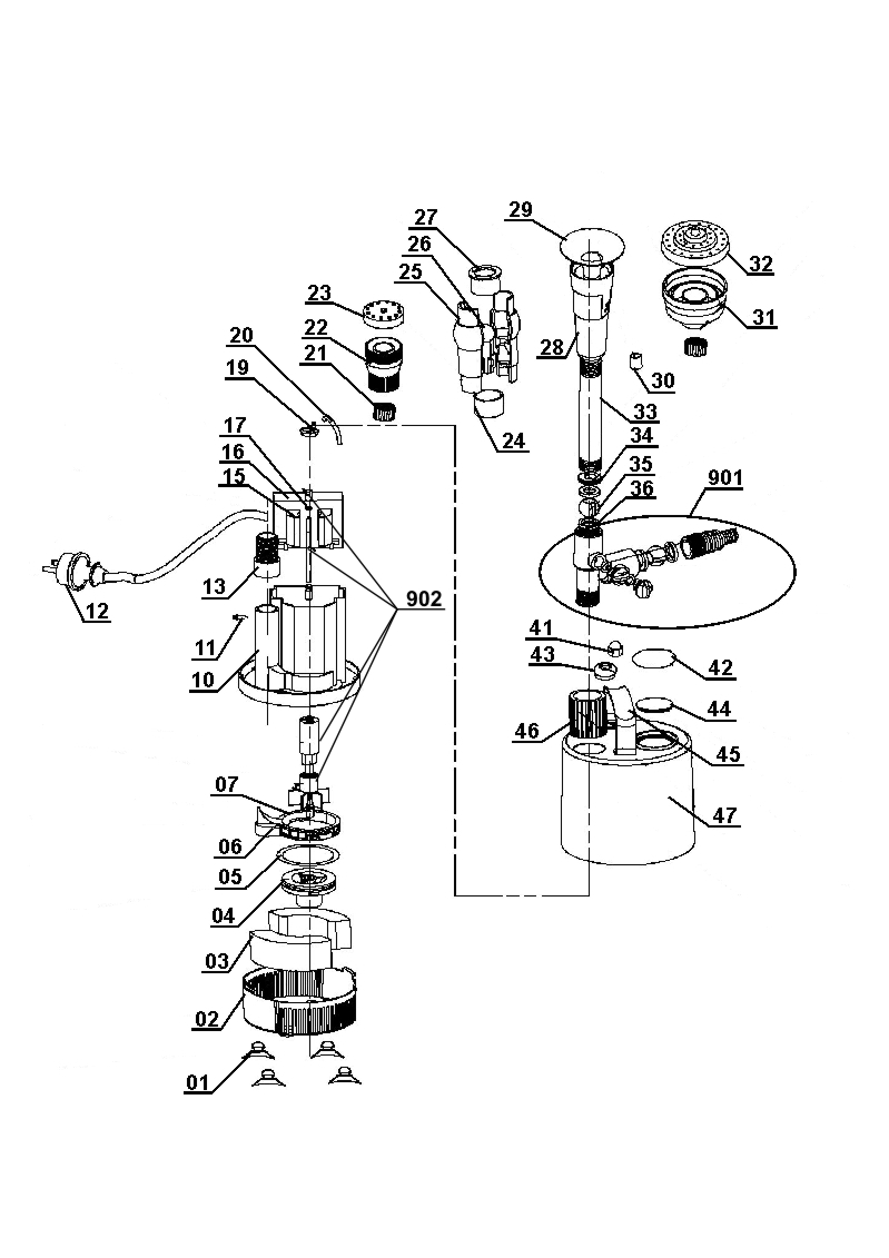
Pompa iaz

TP 1750 Niro

Numar de articol: 4172445
Cod EAN: 4006825509984
Marca: Einhell Royal
01015
Instructiunile si fisele tehnice ale produselor pentru imprimare ca PDF: TP 1750 Niro

Not able to find operating instructions for your Einhell tool? No worries: all our manuals and documents are also available online - it takes just a mouse click to download them.

Accesorii potrivite pentru TP 1750 Niro

Specificații

Numere, date și fapte pentru Pompa iaz TP 1750 Niro: Aici găsești date tehnice detaliate, precum și date exacte privind dimensiunea, greutatea și ambalajul acestui produs Einhell.

Informatii tehnice
Alimentare 230 V | 50 Hz
Putere 50 W
Capacitate maxima 1750 L/h
Inaltime maxima 2 m
Adancime maxima de imersiune 3 m
Cablu alimentare 1000 cm | H05RN-F

Imagini

 
 
 

Contacteaza-ne

Contacteaza-ne daca ai intrebari privind produsele sau serviciul de la Einhell – te vom ajuta cu placere.

 

Tel.: +40 21 318 55 44

De luni pana vineri ora 8:00-16:00


Alternativ, ne poti contacta pe e-mail sau prin formularul nostru de contact

Mergeti la cosul de cumparaturi

Produsul a fost adaugat in cos

Eroare

A aparut o eroare