(Imaginea poate fi diferita de produsul original.)
Pompa iaz
Numar de articol: 4172457
Cod EAN: 4006825566215
Marca: Yellow Garden Line NG
Te rugăm să iei în calcul că trebuie inițial să selectezi numărul tău de identitate pentru a putea vedea lista și desenul cu desenul tehnic privind produsul tău. Numărul tău de identificare îl poți găsi pe plăcuța indicatoare lângă numărul articolului sau în instrucțiunile tale de operare.
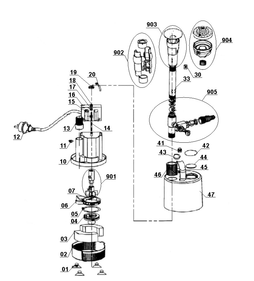
Piese de schimb pentru YGL N.G. 1750 afisat prin vizualizare lista sau prin Desen explodat
Privire de ansamblu asupra pieselor de schimb
Desen explodat
Instructiunile si fisele tehnice ale produselor pentru imprimare ca PDF: YGL N.G. 1750
Not able to find operating instructions for your Einhell tool? No worries: all our manuals and documents are also available online - it takes just a mouse click to download them.
Instructiunile si fisele tehnice ale produselor pentru imprimare ca PDF: YGL N.G. 1750
Not able to find operating instructions for your Einhell tool? No worries: all our manuals and documents are also available online - it takes just a mouse click to download them.
Accesorii potrivite pentru YGL N.G. 1750
Specificații
Numere, date și fapte pentru Pompa iaz YGL N.G. 1750: Aici găsești date tehnice detaliate, precum și date exacte privind dimensiunea, greutatea și ambalajul acestui produs Einhell.
| Informatii tehnice | |
|---|---|
| Alimentare | 230 V | 50 Hz |
| Putere | 50 W |
| Capacitate maxima | 1750 L/h |
| Inaltime maxima | 2 m |
| Adancime maxima de imersiune | 3 m |
| Cablu alimentare | 1000 cm | H05RN-F |