SPU 80/1; Hornbach

(Imaginea poate fi diferita de produsul original.)

Pompa iaz

SPU 80/1; Hornbach

Numar de articol: 4172463
Cod EAN: 4006825416565
Marca: Einhell Royal
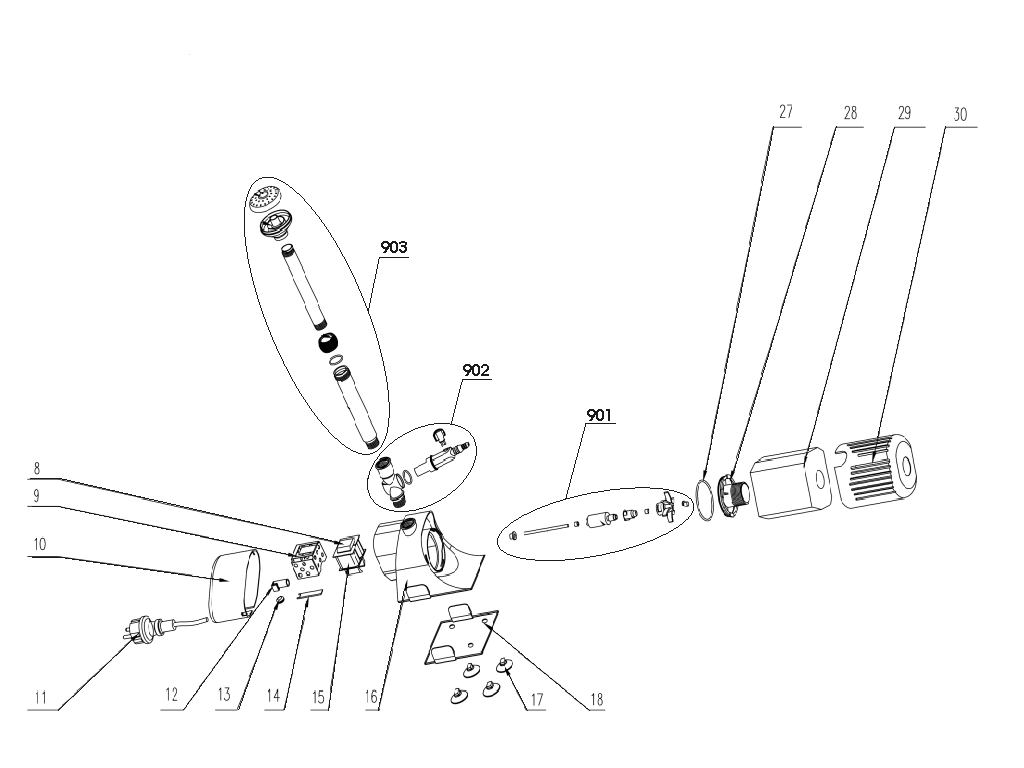
Numar de identitate
Va rugam sa alegeti numarul de identitate al produsului

Te rugăm să iei în calcul că trebuie inițial să selectezi numărul tău de identitate pentru a putea vedea lista și desenul cu desenul tehnic privind produsul tău. Numărul tău de identificare îl poți găsi pe plăcuța indicatoare lângă numărul articolului sau în instrucțiunile tale de operare.

Accesorii potrivite pentru SPU 80/1; Hornbach

Specificații

Numere, date și fapte pentru Pompa iaz SPU 80/1; Hornbach: Aici găsești date tehnice detaliate, precum și date exacte privind dimensiunea, greutatea și ambalajul acestui produs Einhell.

Informatii tehnice
Alimentare 230 V | 50 Hz
Putere 80 W
Capacitate maxima 3700 L/h
Inaltime maxima 3 m
Adancime maxima de imersiune 3 m
Cablu alimentare 1000 cm | H05RN-F

Imagini

 
 
 

Contacteaza-ne

Contacteaza-ne daca ai intrebari privind produsele sau serviciul de la Einhell – te vom ajuta cu placere.

 

Tel.: +40 21 318 55 44

De luni pana vineri ora 8:00-16:00


Alternativ, ne poti contacta pe e-mail sau prin formularul nostru de contact

Mergeti la cosul de cumparaturi

Produsul a fost adaugat in cos

Eroare

A aparut o eroare