NSK 3500 C+H Ausseng (Karton2)

(Imaginea poate fi diferita de produsul original.)

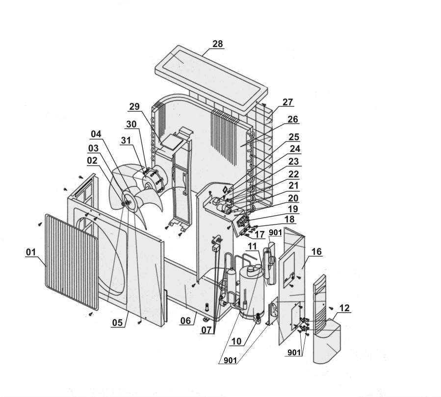
Aer conditionat split

NSK 3500 C+H Ausseng (Karton2)

Numar de articol: 2365395
Cod EAN: 4006825528091
Marca: New Generation
01015
Instructiunile si fisele tehnice ale produselor pentru imprimare ca PDF: NSK 3500 C+H Ausseng (Karton2)

Not able to find operating instructions for your Einhell tool? No worries: all our manuals and documents are also available online - it takes just a mouse click to download them.

produse adecvate'

NSK 3500 C+H
Aer conditionat split NSK 3500 C+H Numarul de articol 2365810

Imagini

 
 
 

Contacteaza-ne

Contacteaza-ne daca ai intrebari privind produsele sau serviciul de la Einhell – te vom ajuta cu placere.

 

Tel.: +40 21 318 55 44

De luni pana vineri ora 8:00-16:00


Alternativ, ne poti contacta pe e-mail sau prin formularul nostru de contact

Mergeti la cosul de cumparaturi

Produsul a fost adaugat in cos

Eroare

A aparut o eroare