(La photo peut être différente de l'original)
Lampe sans fil
Référence article: 4514114
Code EAN: 4006825637908
Marque: Einhell Expert
Pièces de rechange pour TE-CL 18/2000 LiAC - Solo acheter sur le Affichage de la liste ou sur le Vue éclatée
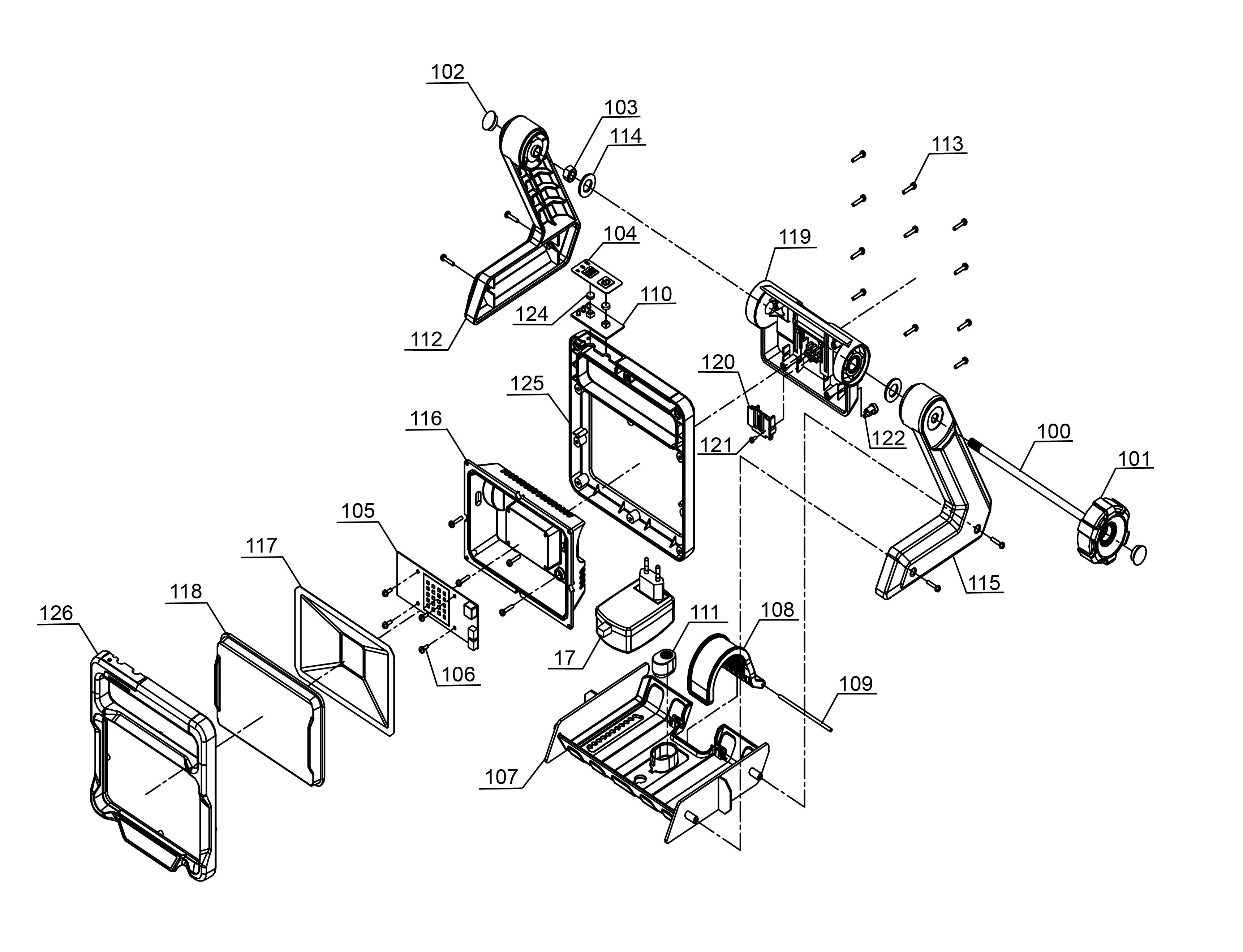
aperçu des pièces de rechange
Vue éclatée
Vous trouverez ici des instructions d'utilisation et des fiches techniques pour TE-CL 18/2000 LiAC - Solo
Vous ne trouvez plus le mode d'emploi de votre outil Einhell ? Aucune raison de s'inquiéter. Toutes les instructions et tous les documents sont disponibles en ligne.
Accessoire approprié pour TE-CL 18/2000 LiAC - Solo
Caractéristiques
Lampe sans fil TE-CL 18/2000 LiAC - Solo: vous trouverez ici des données techniques détaillées, ainsi que des informations spécifiques sur les dimensions, le poids et l'emballage de ce produit Einhell.
| Données techniques | |
|---|---|
| Luminous flux Step 1 | 500 lm |
| Luminous flux Step 2 | 1200 lm |
| Flux lumineux | 2000 lm |
| Luminous flux Step 3 | 2000 lm |
| Couleur lumineuse | 5300 K |
| Nombre d'étapes de réglage de la luminosité | 3 positions |